Zu Inhalt springen
Europas größte Bau & Baumaschinen Community - Mitglieder: 38.282

Recommended Posts

Registriere dich um diese Anzeige nicht mehr zu sehen.

Geschrieben

Hallo Niknew,

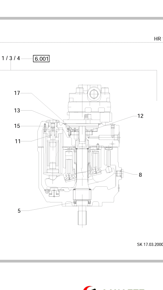
die Pumpe mußt du schon entfernen, um die Kupplung zu sehen, dann bist du sicher. dass dieses Teil in Ordnung ist.

Gruß Hydraulix

 

Geschrieben

Hier kann man wieder gut erkennen, dass das Zahnrad nicht mittig in der Verzahnung der Scheibe lief. Ich habe das schon sehr oft gehabt. Selbst ein neues Zahnrad lies sich nicht durch die Klemmung fest fixieren und so wurde das ein oder andere eingeklebt oder sogar mit ein paar Schweisspunkten befestigt. 

Geschrieben

Mein Nächstes Problem ist wo bekomme ich Ersatzteile direkt bei Terex? Hab die ersatzteil Nr. Kann aber im netz nichts finden.

Gruß Niko

 

Diskutiere mit!

Du kannst jetzt antworten und Dich später anmelden. Wenn du bereits einen Account hast kannst du dich hier anmelden.
Note: Your post will require moderator approval before it will be visible.

Gast
Antworte auf dieses Thema...

×   Du hast formatierten Inhalt eingefügt..   Formatierung wiederherstellen

  Only 75 emoji are allowed.

×   Dein Link wurde automatisch umgewandelt und eingebettet.   Statt dessen nur den Link anzeigen

×   Your previous content has been restored.   Clear editor

×   You cannot paste images directly. Upload or insert images from URL.

  • Gerade aktiv   0 Mitglieder

    • No registered users viewing this page.
×
  • Neu erstellen...